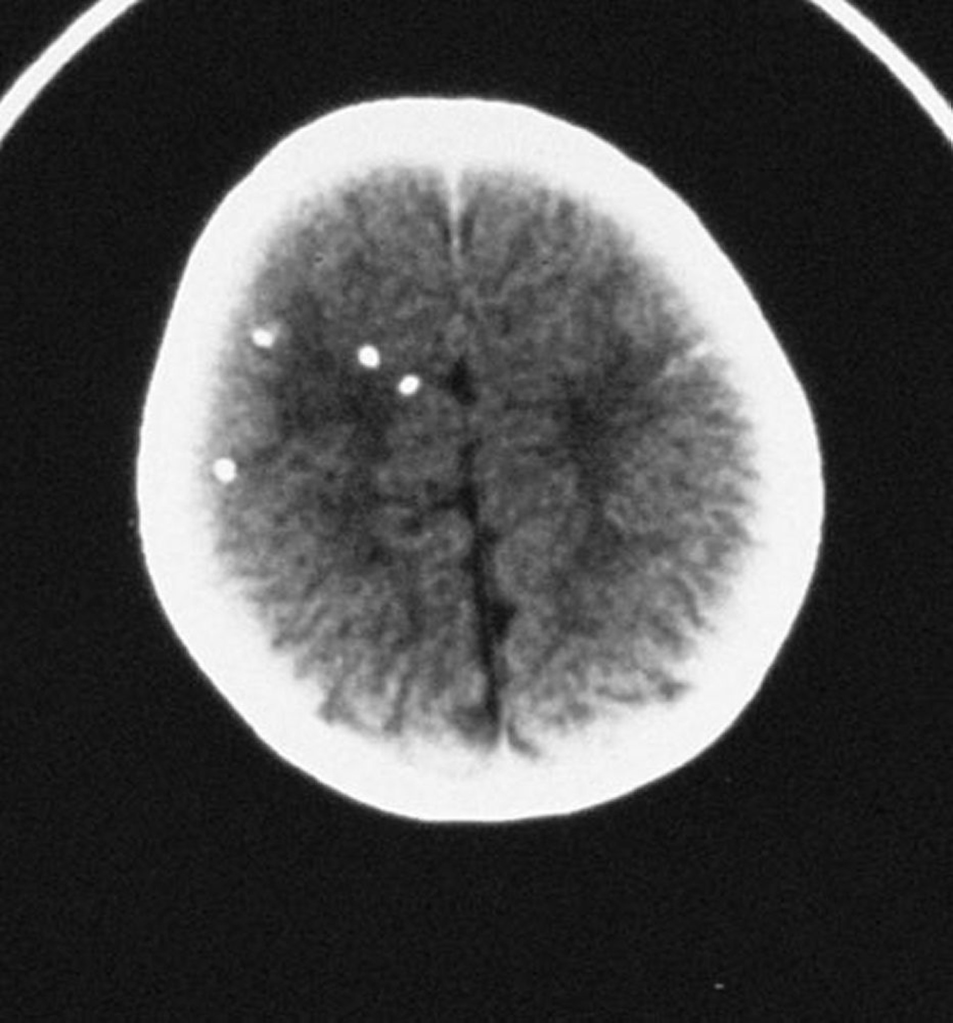
Toxoplasmose congénitale
Cette TDM montre des calcifications intracrâniennes éparses.
By permission of the publisher. From Demmler G: Congenital and perinatal infections. In Atlas of Infectious Diseases: Pediatric Infectious Diseases. Edited by CM Wilfert. Philadelphia, Current Medicine, 1998.
Dans ces sujets
